化學分析是測定單礦物的一種比較重要的分析方法,但樣品需破碎、淘洗、磁選、人工鏡下挑選、研磨、溶礦(酸溶或堿熔)、檢測等分析流程,效率極其低下。
銅礦物在自然界存在形式多樣,有原生帶次生富集帶和氧化帶等,共生礦物和伴生礦物眾多,各類礦物均存在類質同象(例如黝銅礦和砷黝銅礦)或者鏡下光學特征相似(例如磁黃鐵礦和方黃銅礦)的現象,傳統的巖礦鑒定方法利用偏光、反光顯微鏡或實體顯微鏡等設備難以鑒別,對于此類礦物的鑒別需要借助化學分析方法或微區分析技術。

微區分析技術(電子探針、同步輻射、全反射微區分析)已在地質、環境、考古和材料科學等領域獲得了應用。在半導體材料方面,微探針和同步輻射技術為摻雜元素的行為研究提供 了新的方法:在考古方面應用微區能量色散x射線熒光元索成像法測定陶瓷中重金屬元素;在地質學方面,應用x射線熒光光譜(XRF)微區分析技術分析隕石;應用微束X射線熒光微區測定了鈾礦石;應用微束微區X熒光探針分析儀檢測心礦石內的礦物顆粒。
研究內容既有定性描述(繪制待測組分測區分布圖),也有定量分析。但所用分析儀器價格昂貴,普及率不高,制樣復雜(電子探針、同步輻射),或者分辨率不高(微束X射線分析儀、全反射X射線光譜儀),譜線重疊嚴重等問題難以滿足巖礦鑒定的實際需要。
帶微區分析功能的波長色散X射線熒光光譜儀(WDXRF)具有價格相對便宜、穩定性好,分析速度快、分辨率高等優點,測區面積可根據需要鑒定礦物的大小進行調整,實現原位分析。
可以應用該技術測定薄膜里的元素分布情況以及鑒定鉛鋅礦石和鎢礦石。本文通過研究待鑒定礦物的測量條件(分析線、能量窗口),測量方式(濾光片樣品自旋)和干擾校正模型(重疊干擾基體效應),建立了銅礦石類質同象物相的鑒定方法,獲取了礦物的微區原位化學成分、含量及元素賦存狀態特征。該方法為銅礦物的鑒定工作提供了一種快速便捷的手段,,而且為礦產綜合利用工作提供了極有價值的信息。
1.實驗部分
1.1測量儀器
日本理學波長色散X射線熒光光譜儀 ZSX Primus III+
1.2樣品制備
將待鑒定的礦物標本進行切割(盡量選擇礦物富集的部位,切下來的巖片如有孔洞或疏松需注膠),平面處理(粗磨、細磨和精磨),拋光(選用三氧化二鉻拋光劑),制備成35 mmx35 mm的光片。
1.3標準樣品和分析元素
銅礦物有自然銅、黃銅礦 、輝銅礦、斑銅礦、黝銅礦、砷黝銅礦、黑銅礦、赤銅礦、車輪礦、磷銅礦、銅藍、透視石綠松石等礦物。其中的主元素有銅、鐵、硫、砷、銻、鉛、鋁、硅、磷等,伴生元素有金、銀、鋅、鈷、鎳、鉍、汞、硒、碲、鈣、鎂等。
1.4測量條件優化
礦物標本與普通地質樣品有所不同,地質樣品中的痕量元素在礦物標本中可能是主元素,分析線和PH的選擇一定要在時物標本的掃描圖上選擇,盡管XRF的諧線簡單,重疊干擾少,但主元索的重疊干擾依然存在,如As Ka(2 =34.00°)與Pb Lα(2θ =33.93°)的干擾,在選擇分析譜線時盡可能規避這種受干擾嚴重的譜線,選擇不受譜線重疊干擾或重疊干擾程度小的分析線Pb LB1(2 θ= 28.26°)。
需要注意的是,主元素的高次線干擾通過PHA的設定不一定能夠全部去除,回歸校準曲線時仍需考慮其干擾影響。
1.5測量方式優化
2θ角在11° ~ 18°區域內,由于受到靶線(Rh)相干散射和非相干散射的影響,背景強度較大。選擇Zr濾光片可顯著降低背景強度,減弱靶線的影響,從而提高Ag等元素的檢出率。
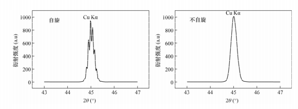
樣品旋轉對譜峰平滑度影響較大,掃描的譜峰為鋸齒狀(圖1),給伴生元素的甄別帶來困難,因此選擇樣品不旋轉的測量方式。通過試驗確定的檢測元素(主元素及主要伴生元素)、測量方式等測量條件見表1。
表1 分析元素X射線熒光光譜測量條件

注:PHA為脈沖高度分析器,準直器選用S4
圖1 樣品旋轉與否測量的熒光譜圖比較

2.X射線微區分析干擾校正及技術指標
2.1譜線干擾及基體校正
分析軟件提供了基體校正和譜線重疊校正公式。其數學模型為:
式中:Wi---標準樣品中分析元索i的物薦值或未知樣品中分析元素i校正后的含量;
Wj----共存元素j的含量或熒光強度;
Ki、Ci---常數;
Ii----分析元素i的強度;
B、C、D----校準曲線常數;
aij----共存元素j對分析元素i的吸收----增強校正系數;
βij----共存元素j對分析元素i的重疊校正系數。
譜線重疊干擾有一次線請線重疊干擾和高次線譜線重疊干擾。
一次線譜線重疊干擾又分為同線系譜線重疊干擾(例如Fe Kβ對Co Ka的干擾,Ag Ka對Cd Ka的干擾)和不同線系譜線重疊干擾(例如PbMa對S Ka的干擾)。一次線重疊干擾無法避免,對測定結果的影響較大,只能采用譜線重疊干擾校正予以扣除。
高次線譜線重疊干擾,例如Pb Lβ對Fe Ka的干擾。Cu Ka對P Ka的干擾一般通過PHA窗口的調節加以消除。但當干擾元素的含量很高時,高次線重疊干擾存在的可能性仍然較大,在進行譜線重疊校正時也必須認真加以考慮。
基體效應包括吸收效應和增強效應,由于經驗系數法沒有考慮強度與含量間的物理模型,該校正法對各種類型的分析對象都有很好的適應性,不僅可以校正元素間的吸收一增強效應,還可以對礦物效應進行相應的修正。在回歸校準曲線校準系數時,同時對基體效應、礦物效應和諧線重疊校正系數進行計算。
2.2方法精密度
按表1的測量條件對某黃銅礦標本連續測定12次,元素S、Fe 、Cu的測定平均值分別為33.98%、30.16%、34.47%,相對標準偏差(RSD)分別為0.7%、0.9%、0.2%,滿足了地質礦產實驗室測試質量管理規范(DZ/T 0130.9----2006)的監控要求,表明測量的精密度較好。
2.3方法準確度
按表1的測量條件對某黃銅礦標本連續測定12次,元素S、Fe、Cu的測定平均值分別為33.98%、30.16%、34.47%,相對標準偏差(RSD)分別為驗證本法的可靠性,對銅礦物的原生帶、次生富集帶、氧化帶3件標準樣品進行單次測定。標準樣品中各待測元素的測量結果與推薦值之間的相對差均小于6%(表2),說明方法的準確度較高,可以滿足實際樣品的檢測需求。
表2 標準樣品測定結果
3. X射線熒光光譜微區分析技術在銅礦物鑒定中的應用
3.1磁黃鐵礦與方黃銅礦的鑒定
某礦物標本A目標區(圖2銅分布分析圖黑色部分)采用傳統巖礦鑒定方法給出的結論是磁黃鐵礦或方黃銅礦(光學顯微鏡下光學特征相似),不能確定是哪一種礦物。利用本法的定性分析模型掃描礦物標本,結果顯示Cu、Fe、S的譜峰強度異常(圖2),說明標本中確實存在銅礦物或鐵礦物。
元素分布分析(圖2)顯示,目標區內銅黃色部分(圖2銅分布分析圖黑色部分)的Fe、S的異常分布高度一致,Cu 的異常分布在右下角,表明目標區礦物是磁黃鐵礦而非方黃銅礦。
圖2 銅礦物標本A元素的分布分析二維圖像和定性掃描圖譜

3.2黝銅礦與含銀砷黝銅礦的鑒定
另一黝銅礦(Cu12Sb4S13)標本B,由于其化學組成中類質同象替代現象非常廣泛,除了Sb與As形成完全類質同象,Ag 、Zn 、Fe等還可有限替代Cu,它們在光學顯微鏡下的光學特征極其相似,傳統巖礦鑒定方法很難鑒別區分出黝銅礦、砷黝銅礦、含銀黝銅礦等,僅能籠統地給出黝銅礦的結論。
本法的標本定性掃描圖(圖3)顯示,除S、Cu、Sb的譜峰強度異常外,Pb、Zn、Cd、Ag也有異常譜峰出現,說明標本中不僅存在黝銅礦,還存在鉛礦物和鋅礦物。
元素分布分析圖(圖3)顯示,標本目標區內鋼灰色部分(元素分布分析圖顯示部分)的Cu、Sb、Ag、Fe、S分布的異常區域高度-致(S 最高含量分布與其他元索不一致是由于閃鋅礦存在造成的,因為閃鋅礦的硫含量遠高于黝銅礦的硫含量)。表明黝銅礦中含有Ag、Fe。微區定量分析(圖3銻分布分析1處)各元索的含量結果(%))為:Cu 38.24,Sb21. 48.,S24.12,Zn6.31,As5.15,Ag1.95,Fe1.46;
物質的量為:(Cu+Fe+Zn) 0.725,(Sb+As)0. 245,S 0.75;配位數為:(Cu+Fe+Zn)2.95,(Sb+As)1,S 3.06。測量結果與黝銅礦(Cu12Sb4S13)成分理論值(Cu45.77% ,Sb 29.22% ,S 25.00%)比較接近,其中8%左右的Cu被Zn、Fe替,5%左右的Sb被As替代,該礦物定名為含銀砷黝銅礦。
圖3二維圖像左上角檢測點(硫分布分析圖3b處)進行微區定量檢測,測定結果為:Zn 65. 22% ,S 31. 39% ;物質的量為:Zn 1. 00,S 0.98 ;配位數為:Zn 1.02,S 1。測定結果與閃鋅礦(ZnS)成分理論值((Zn 67. 10%,S32. 90%) 非常接近,定名為閃鋅礦。同時解釋了譜線圖上Cd異常的原因(Cd為閃鋅礦伴生元素)。
圖3 銅礦物標本B元素的分布分析二維圖像和定性掃描圖譜

4.結語
通過研究X射線熒光光譜微區分析的測量方式、譜線重疊干擾、基體效應和礦物效應等測量條件,建立了以X射線熒光光譜微區分析為主的銅礦物鑒定方法,解決了互為類質同象礦物(銀砷黝銅礦與黝銅礦)以及其他光學特征相似的礦物(磁黃鐵礦與方黃銅礦)在光學顯微鏡下難以鑒定的難題。
該方法在礦產勘查、礦床地質研究、礦物工藝學研究、礦產綜合利用和新礦物的綜合研究等方面具有廣闊的應用前景。
廣州儀德精密科學儀器股份有限公司專門為客戶打造一站式、全鏈條和“交鑰匙”實驗室服務。
公司提供的產品資源豐富,種類齊全,涵蓋實驗室通用儀器、化學分析、表面科學等,如全譜直讀光譜儀、波長\能量色散型X射線熒光光譜儀、電感耦合等離子體發射光譜儀、輝光放電光譜儀、紫外可見分光光譜儀、分子熒光光譜儀、原子吸收光譜儀、掃描電鏡、原子力顯微鏡、金相顯微鏡、氧氮氫分析儀、碳硫分析儀等。
廣州儀德精密科學儀器股份有限公司(原廣州市儀德科學儀器有限公司)創立于2005年,十三年來堅持服務于國內實驗分析領域,在儀德人的深耕細作下,客戶遍及汽車制造、鋼鐵冶金、有色金屬、電子電器、能源電力、石油化工、鐵路運輸、機械制造、商檢、質檢、環境保護、食品藥品和教學科研等各行各業。
